產品分類
聯系我們
一種新型廢排在線檢測系統,廣大的朋友都很想弄清楚這個問題,中天恒遠水處理設備公司小編李德馨認真總結整理了相關的內容知識,希望對您有所幫助。
小編整理總結了相關方面的知識及認真聽取了其他同事的說明,為您做以下的介紹。
一種新型廢排在線檢測系統
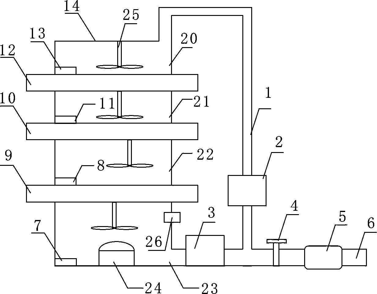
小編了解到,這一種廢水排放在線檢測系統,包括廢水處理裝置及設置于廢水處理裝置底部,并于廢水處理裝置的下開口相連通的排液管;廢水處理裝置內部通過過濾裝置、硬度調節裝置及酸堿度調節裝置分隔成過濾腔、第二過濾腔及第三過濾腔,廢水處理裝置底部設置有酸堿度監測裝置,酸堿度調節裝置上方設置有硬度監控裝置,硬度調節裝置上方設置有微生物監測裝置,所述過濾裝置上方設置有大顆粒監測裝置,過濾腔、第二過濾腔及第三過濾腔內均設置有攪拌扇;該廢水排放在線檢測系統可以很好地解決現有的廢水處理很難保證處理后的廢水質量全部合格,且不能對水質進行監測,因此在廢水處理時十分被動的問題。

小編點評:
污水處理設備對于環境保護非常有利,很多地方的政府都要求相關的企業和單位采用,所以廣大用戶朋友很有必要了解相關的知識,小編為您認真總結整理,希望對您有幫助。
一種新型廢排在線檢測系統,感謝您閱讀本文,如果想了解更多,請持續關注我們的網站。